二开版十国语言交易所系统源码.秒合约交易/质押矿机/新币认购

二开版十国语言交易所系统源码.秒合约交易/质押矿机/新币认购-优凯源码网-免费PHP网站源码模板,插件代码开源分享平台!
二开版十国语言交易所系统源码.秒合约交易/质押矿机/新币认购
此内容为付费资源,请付费后查看
688 ≈ 97.008USDT
立即支付
您当前未登录!建议登陆后购买,可保存购买订单
增值服务
BUG修复
环境配置
安装指导
自动发货
定制二开
付费资源
已售 31

重新二开的,功能新增的比较多,前端访问速度也优化了

代理后台新增实质功能可设置用户控制、订单控制、代理后台双语言

后台新增自动充值(带脚本)、用户输赢控制等

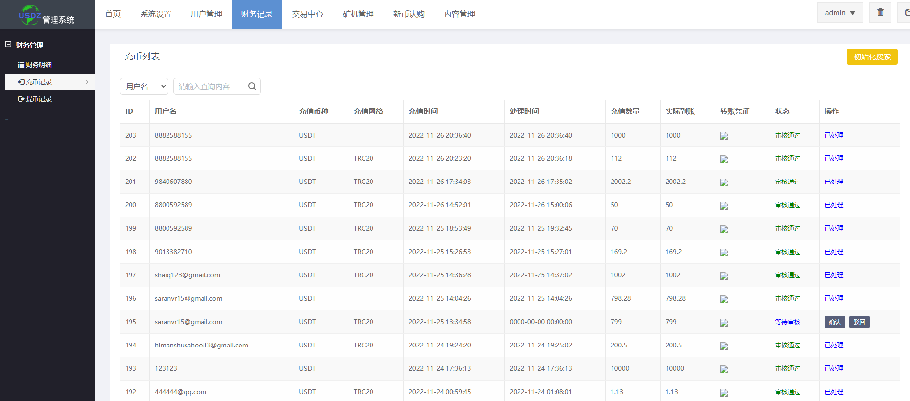
系统10种语言,支持币币合约交易、新币申购、智能挖矿等功能

THE END
喜欢就支持一下吧